상품 이미지 새창 보기

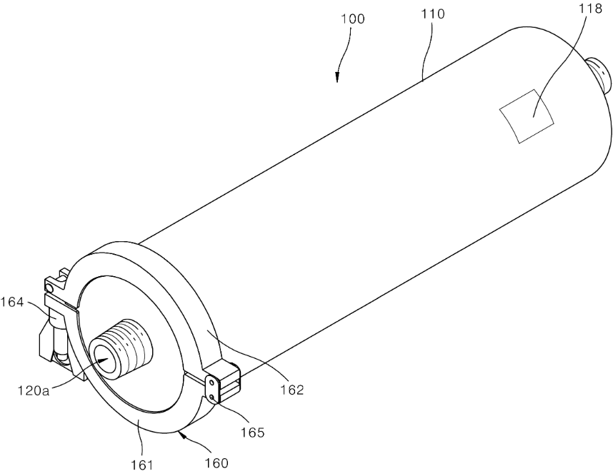
특허 제10-2715344호(정수용 필터 유니트, (주)대호이엔지, 특허 제10-2715344호(정수용 필터 유니트, (주)대호이엔지, 특허 제10-2715344호(정수용 필터 유니트, (주)대호이엔지,